台灣精製高效能CNC工具 | 鑫功陽精密搪銑削頭 / 直角銑頭

OH YOUNG在台灣製造的高性能搪銑削頭,為CNC機械加工帶來創新與卓越,確保長期耐用與操作效率。
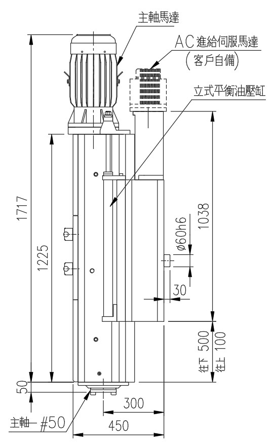
搪銑削頭OY-G10NC-二段變速型

OY-T10NC 二段變速型搪銑削頭

1、本銑頭為敝司之CNC搪銑頭系列,最適合裝置在龍門銑床、單臂銑床、專用

     機,做重切削加工使用。

2、內壁加厚,本體鋼性佳。

3、主軸使用日本原料、NSK軸承,內部驅動系統皆經過嚴格的品質管制,堅固

     耐用且性能佳。

4、行程600mm

5、可搭配敝司承接面Φ250之直角銑頭(角度頭),做五面加工使用。

6、低溫升。


詢問

搪銑削頭OY-G10NC-二段變速型
項目 \ 型號 OY-T10NC-二段變速型型
主軸馬達
(客戶自備)
伺服馬達,感應伺服馬達或永磁馬達
(馬達轉速3000RPM以上)
主軸變速段速 2段
主軸轉速 1200RPM
銑刀最大直徑 200 mm
進給馬達 客戶自備
行程 600 mm
潤滑方式 搭配冷卻機潤滑
溫升 加裝循環式冷卻系統,溫升在20°C以下
適用工作 低速重切削 ; 高速精銑

聯絡資訊

鑫功陽精密機械股份有限公司
411台中市太平區華安街160巷22號
TEL : 886-4-22715699 |
FAX : 886-4-22715299 |
E-mail : ohyoung@ohyoung.com.tw
Copyright © 2021 鑫功陽精密機械股份有限公司 All Rights Reserved.